はじめに・ご挨拶

皆さんが協力してくだされば、技術立国日本の復活となるでしょう。一緒に、輝かしい未来の設計図を描き、本物の未来を切り開くパラダイムシフトを起こしましょう。この国の技術者の発想による次世代のハードウェアプラットフォームを出現させていきます。お力添えをお願いいたします。
発明家の齋藤憲彦です。二十数年前、小型携帯端末用のリング状入力装置の発明をしました。それが、アップル社のIPODの丸いクリックホイールという入力装置の特許発明でした。この件は全国放送のドキュメンタリーでも取り上げられたりもして、ご存じの方もおられるかもしれません。

このリング状入力装置のクリックホイール、正式名称を接触操作型入力装置と言います。これはタッチセンサーとプッシュスイッチを複合して組み合わせている入力装置で、こういった複雑な入力装置を、複合スイッチと呼びます。
私は、その後、延々と二十年以上かけて、複合スイッチについての研究を進めた結果、ついに3次元コンピュータ用の究極の入力装置とも言える物にたどり着き、発明しました。タクティルメディアボールです。

前回、IPODのリング状の入力装置の特許出願は日本国だけでしか出願できませんでした。しかし、今回の発明は、さらに大勢の世界中の人々が次世代の3Dパソコン、3D携帯電話、3Dゲームマシン、3Dデザインワークステーションとあらゆる領域で使うことになります。未来の完全に3次元化されたDX領域で必須となる3次元入力装置です。この入力装置によって、世界中のコンピュータ操作環境が劇的に向上し、パラダイムシフトを起こします。まさに次なる破壊的イノベーションの礎ともなるデバイスです。


すでに日本国では特許権が成立しています。この入力装置の米国特許出願等を、皆さんに助けて頂き、多くの日本発のビジネスを巻き起こしたい。我が国のコンピュータに関わるすべてのユーザー、技術者、産業を大きく飛躍させ、復活させていきたいのです。
ぜひ、皆さんのご協力をお願いいたします。
我が国のコンピュータに関わる全産業を復活させるべく、努力したい。我が国発の3次元コンピュータサイエンスを世界に向けて発表していきたい。
次なるパラダイムシフトとは、
現在、地球上の人間の住む領域はすべて、昆虫の様な、インターフェイス(マウスやキーボードやタッチパネル)を持ったパソコンや、昆虫の様なインターフェイスをもったスマホや、カブトムシのような自動車、さらには環境にばらまかれた河川の増水センサーなどに覆い尽くされています。それらは、一部は端末として、インターネットでつなぎあわされており、それらを敷設するつもりのエリアを、スマートシティとかウォーブンシティとか申してるわけです。(実は、万博会場を含め、国内のスマートシティでも使える能力も有しているのが、僕らのTMBです。)
しかし、次なるパラダイムシフトは、人間の様なインターフェイスを持つパソコンや、人間のようなインターフェイスを持つポストスマホや、人間の子宮の様な乗り心地の猫バスのような自動車が、インターネットを介して、編み目の様になって、この地球上を覆い尽くす、ママルコンセプト革命によって引き起こされます。
今回の、このクラウドファンディングは、このパラダイムシフトの起点ともなるわけです。
かなうことなら、技術立国日本の再興がなるようにしたい。みなさんと共に、この技術が日本から巣立っていくように、皆さんの元気玉を投げていただければ、かならずや、この国から、次世代のコンピュータサイエンスを生み出して見せます。
プロダクトのご紹介
タクティルメディアボールとは、球形の入力装置で、その形状から見てのとおり、XYZ3次元の情報をコンピュータに送り込むことができます。

タクティルメディアボールのイメージ図

球体のTMBがXYZ座標データを入力出来る理由
一方、マウスやペンタブレットやスマホ等の、平らな板をなで回す様な2次元入力装置では、XY2次元の情報しかコンピュータに送り込めないのです。

マウスやiPhoneやペンタブレットは、XY平面をなでつける様な動きしかできず2次元情報しか入力できません。
しかしながら、タクティルメディアボールはXYZの3次元情報を入力できるだけではなく、タクティルメディアボールの表面は、人間の様に柔らかく、触れる指先や手のひらのぬくもりや感触を受け止めることができるのです。
私たちはこの能力持ったシステムを、ママルコンピュータ(ほ乳類型コンピュータ)と名付けました。

TMBは柔らかくて人のほっぺたや腕の柔らかい部分と同じ

実は、正直に白状すると、この柔らかい部分に埋め込まれているごま粒の様なマーカー一つが、
全天周方向からのベクトルデータを検出する3次元スイッチになっています。
ということはもうおわかりですね、見た目は単なるどでかい球体マーカー一個分に見えますが、実態は何千個もの3次元スイッチの塊になっている、地上最強の複合スイッチということです。
こだわり・特徴
近年、3次元ヘッドマウントディスプレイが、世界中の多くの会社から発表、発売され、その入力装置として、3次元ポインティングデバイス(天使の輪っかがついた様な棒状の入力装置や、既存のゲームデバイスを左右二つにかち割った様な入力装置)も提供されています。

しかしながら、それらの3次元ポインティングデバイスは、左右の手で割り箸を一本ずつもって三次元造形物をつつく様な事しか出来ません。3次元入力装置という物に着目してよく考えて欲しいのです。今日現在技術的に解決されていることの、なんと貧弱なことよ。

現在市場に出回っているVR/ARゴーグル用に一緒に売られている入力装置で出来ることは3次元空間で、両手にそれぞれレーザーポインターを持って振り回すことだけです。かわいい3次元キャラクターやアバターの顔、工業製品の立体パーツ、それらが浮かんだ三次元空間で、それらをつつくだけ?
しかも、その程度の既存の入力装置で、未来のものづくり、さらに未来の製造工場の要、インダストリーX.0や、ソサエティX.0とは、信じられますか?
タクティルメディアボール、ママルコンピュータだけが、未来の産業をより高度に3次元化することができるのです。

空間に浮かんだカップをレーザーポインターでつつく
そもそもポインティングデバイスでは、3次元空間に浮かんだコップを直接手で握りしめる事自体ができないのです。タクティルメディアボールならそれができるようになります。そのためにつくりだしたのですから。

空間に浮かんだカップを TMBで握りしめることが出来る
既存のポインティングデバイスでは、3次元空間に浮かんだ粘土を手のひらでこねる様に変形加工することができないのです。 
TMBでは、空間に浮かんだカップを、粘土のようにこねて変形させることが出来る
しかし、タクティルメディアボールならそれが出来るようになります。そのためにつくりだしたのですから。
タクティルメディアボールによって、未来の製造現場は、リモートワークの領域(個人の自宅など)に拡散され、このデバイスによって、インダストリーX.0の入り口部分となすことができます。アニメーション映画の制作効率が飛躍的ににアップするでしょう。働き方改革、リモートワークの要ともなるでしょう。
3次元パソコンの図

ポストスマホ概念図
パーソナルワークステーションが完全に3次元世界に移行することによって、巨大な市場が出現します。VR/ARメガネと3Dプリンターのマーケットが大爆発を起こすでしょう。
そして、このデバイスによって、芸術と産業の未来にむかって、途方もないブルーオーシャンが眼前に開けるでしょう。
タブレットコンピュータやスマートホンは、2Dコンピュータサイエンスの賜物と言えます。タブレットコンピュータはある意味ダイナブックの思想を2次元平面に閉じ込めたデバイスなのです。
この2Dコンピュータサイエンス全盛期に、3次元ゴーグルの能力が大変革を起こそうとしています。要するに、次のパラダイムシフト、3Dコンピュータサイエンスの夜明けが迫っているというわけです。まったく新しい3Dコンピュータサイエンスを構築する出力装置が、VR/ARゴーグルであり、まだ皆さんの目の前に出現していない決定版の入力装置タクティルメディアボールが出現し、その世界を完結させるのです。
プロダクト誕生までのお話
プロジェクト立ち上げの背景にあるものとして、
ある小学校の先生が、東急ハンズで、3次元プリンタが10万円を切ったので、子供達に買ってやったそうなんです。
子供達と先生と3Dプリンタのイラストあるいは画像
でも、残念ながら、誰も使うことが出来なかったのです。
なぜならば、子供達の誰一人として、CADが使えなかったからです。コンピュータを用いた3次元造形デザインシステムを使うことができなかったのです。それで、しょうがなく先生は、子供達にCADの使い方を教え始めたそうです。
これでは、本末転倒です。マウスやペンタブレットを使って、ぞうさんや、うさぎさん、お人形さんが、粘土をこねるように、簡単につくりたい、だけど、作れない。
じゃあ、粘土を直接こねて出来たオブジェクトを3d読み取り機で読み取れば?
だけどこれでは、その粘土の大きさの物しか工作入力できません。
そして、3D読み取り機で読み取った後の3次元造形データに直接手を加えることができません。ポインティングデバイスだとつついたり、刀で切ったりするだけです。
仮想粘土なら巨大ロボットや自動車まで、直接デザインできます。
でも、そんなことの出来る3D入力装置がないのです。
既存の入力装置では、3次元空間に3Dオブジェクトを描き込む事が、あまりにも難しいために、プロフェッショナルとしての3D空間描画パフォーマンスが成り立ってしまうほど、難しい技術が必要となってしまうのです。
この問題を解決する取り組みに着手しました。誰かがやらなくては、解かなくてはならない問題なのです。この問題、ニーズへの解答が必要なのです。その問題に対する解答が私の発明した3次元入力装置なのです。


なぜ、この入力装置のコンセプトにたどり着いたか?
それは、まず、二十数年前、IPODで使われていた入力装置、彼らがクリックホイールと名付けた物を発明したとき、その形状がリング状であったことから、すぐに、球体の硬いボール状の入力装置を発明しました。未出願であったのは、その機能には限界を感じていたからです。しかし、その最初の二十年前の着想を、頭の中で、進化させて行き、ついにその表面に、人間の様な柔らか構造を持たせるということにたどりついたのです。

そもそも現在皆さんがお使いになっているパソコンのマウスやキーボードやペンタブレット、さらにスマホやゲーム機器の入力装置は、言ってみれば昆虫やカニやエビのような甲殻類です、工業用ロボットもまたしかり、カチンコチンでとても、僕らのような柔らかい脊椎動物と握手したり、感触を確かめ合ったりできない存在なのです。

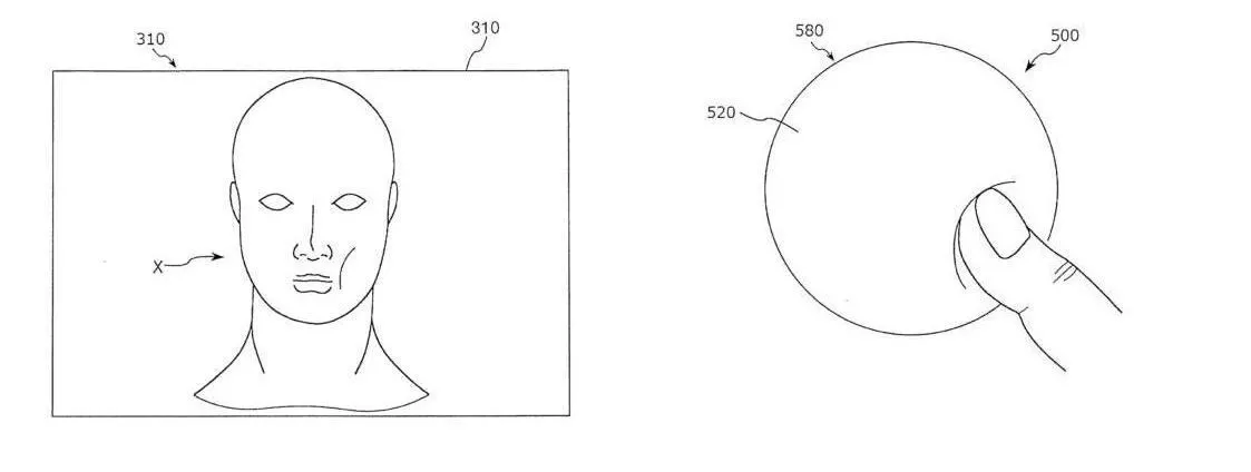
図16

人間がほっぺたを押されてる絵と、タクティルメディアボールを指で押してる絵
かれらにも、僕らのような柔らかいボディ、柔らかい操作部分、柔らかい腕や手を備えてもらいましょう。そうです、それが私の言うところのママルコンセプト、コンピュータにもほ乳類のように柔らかい体や入力装置を与えて、僕らの思いを受け取ってもらおうじゃないですか。

昨今AI,AIと大騒ぎしている向きもありますが、たしかに、大事な技術分野ですが、肝心のコンピュータやロボットのボディがカチンコチンでは、AIがいくら進化しても、ゴキブリやカニに人工知能を搭載してやるようなものです。コンピュータやロボットにも人間の様な感覚を得る能力をさずけなければなりません。その能力を与えるものこそ、ママルコンセプトなのです。
また、インターネットに接続されたパソコンやスマホやゲーム機器やテレビやIoT機器、それらはすべてカチンコチンの昆虫の様な存在なのです。昆虫が、我々人間とインターネットの間を取り持つ召使いの役目をはたしているのが、今日、今現在の、GAFAのいるインターネット環境なのです。この世界のインターネット環境に、昆虫の様な召使いでなく、ほ乳類のような柔らかい召使いによって橋渡しをしてもらって、より人間に近い入力装置を提供するというのが、私たちの目標です。もちろん、すべて順調に進めば、世界中のコンピュータ環境が劇的にパラダイムシフトを起こし、GAFAでなくまったく新しいプレーヤーが日本から産まれる可能姓もあるでしょう。
仮想のムーンショットではなく、本物の産業革新がこの国、このプロジェクトから引き起こされるのです。
まず最初のゴール500万にて、現在展開中の特許権獲得の為の資金とします。現在複数の特許申請中で、まだ秘密の物も複数あります。これは、公開可能となった状態で、発表していきます。 次にさらに集められた資金の大きさによっては、万国博覧会への参加働きかけの資金にも充当します。このプランは発表及びお伝えいたします。さらに次の大台に乗った場合は、一千万以上かかる試作機開発資金に充当しその先のゴールへ向かうことになります。新たな進展があった場合、ご協力頂いた皆様に、事業経過をメールでお伝えしてまいります。
リターンのご紹介
リターンは、実際に成立した特許権や、今後の取り組みのご報告、米国などへの特許権の成立のご報告ということが本質となりますが、ご協力頂いた方々に、お付き合い頂いている、SFイラストレータの加藤直之さんのイラスト入り、当社齋藤創造研究所のクリアファイルやTシャツ等をプレゼントいたします。
クリアファイル1
次の2つの加藤直之氏のイラスト画像とCGイメージを主に使ったクリアファイルです。



クリアファイル2
次の加藤直之氏のイラストを使ったクリアファイルです。

クリアファイル3
次の加藤直之氏のイラストを使ったクリアファイルです。

Tシャツ
次の加藤直之氏のイラストを使ったTシャツです。

Tシャツ
次の加藤直之氏のイラストを使ったTシャツ2枚目です。

齋藤創造研究所
SFイラストレータ加藤直之氏イラスト入りクリアファイル
齋藤創造研究所
SFイラストレータ加藤直之氏イラスト入りクリアファイルセット(三枚組)
齋藤創造研究所
SFイラストレータ加藤直之氏イラスト入りTシャツ
齋藤創造研究所
SFイラストレータ加藤直之氏イラストTシャツとクリアファイルセット
齋藤創造研究所
SFイラストレータ加藤直之氏イラストTシャツ2枚とクリアファイルセット
2時間のオンラインでのお話とディスカッション
齋藤創造研究所
SFイラストレータ加藤直之氏イラストTシャツ2枚とクリアファイルセット
4時間のオンラインもしくはオフラインでのお話とQAとディスカッション
さらに日本再興のプランについて、討論
海外の方、及び緊急事態宣言中は、オンラインのみとします。
メディア掲載
テレビ
・NHK 「逆転人生」放送 2019年04月01日(22:00~22:50)
NHKドキュメンタリー、逆転人生 第1回は「最強アップルVS.貧乏発明家」~特許裁判で米アップルに勝ち、賠償金を手にした日本唯一の男の逆転人生
・山梨放送
ラジオ
・j−wave イノベーションワールド DJ 川田十夢さん
・YBS FMラジオ キックス DJ 梶原しげるさん
新聞
・ウォールストリートジャーナル 2013年09月26日 ・日本経済新聞 2013年09月26日
・朝日新聞 2014年04月24日
・読売新聞 2014年05月14日
他
政府発行 特許行政年次報告書 記事 巨像アップルをひれ伏せさせた個人発明家齋藤憲彦
2019年版 https://www.jpo.go.jp/resources/report/nenji/2019/ebook/html5.html#page=267
雑誌
・News week (世界が尊敬する日本人100人) 2019年04/30・05/07合併号)
・フライデー 2020年01月03日号
・ THEMIS (2013年11月号)
・ 機械設計(2019年10月号)
書籍
・Ipod特許侵害訴訟 日本経済新聞出版 新井信昭 著 「iPod特許侵害訴訟 アップルから3.3億円を勝ち取った個人発明家 」 2018年09月19日 発売
・コンカレントCP/M入門 工学社 著者:齋藤憲彦 1985年08月 発売
表彰
・ディープテックグランプリ 最優秀賞 ママルコンピュータ 2018年09月08日 第6回
会社・チームの紹介
現在本件取り組みにフルコミットしているスタッフは、発明家齋藤憲彦、私だけです。
私自身は、過去、二十代後半に、代表取締役社長として起業し、制御系ソフトウェアハウスを
10年ほど経営し、技術者人数で50人ほどの事業規模となったことがあります。
齋藤憲彦 略歴 1980年富士通ビーエスシー入社。制御ソフトウェア開発に従事。1983年デジタルリサーチジャパン 入社。OS周辺ソフトのポーティングを行う。1984年株式会社ポセイドンテクニカルシステムズ設立 とともに代表取締役就任。主として制御用ソフト請負開発を行う。のち、発明活動期に入る。2015年 クイックホイール特許係争にてアップル社に勝訴。 2021年現在、株式会社齋藤創造研究所代表取締役 CEO。
学歴 1975年 獨協学園高等学校卒
1980年 東海大学海洋学部海洋科学科卒
1982年 JAIMS(日米経営科学研究所)米国留学 在職中
著書に「コンカレントCP/M入門(工学社 出版) 」がある。
私以外のスタッフは、現在3名、皆特許権確立後、試作機開発の資金手当が成功した暁に、
ママルコンピュータプロジェクトに参画するために、2足のわらじを履いております。
まず、米国特許出願資金確保、次に、試作機開発資金確保で、本格的に動き始めます。
また、今回、このクラウドファンディングに大きくスポンサー参加していただいた
法人、個人の方々と、手に手を取り合って、日本再興にもとりかかる用意があります。
すべては、このクラウドファンディングにかかっております。
少しでも多くの方の、クラウドファンディングの参加、よろしくお願いいたします。
チームはこのクラウドファンディングに参加してくださったあなたを含むすべての人々です。
ファンディング終了後、参加された皆さんと一緒に未来を語るZOOM会議を催していきたいと思います。
元気玉を投げて下さった皆さんにその会議の参加案内をお送りいたします。
Q&A
よくある質問が寄せられた段階で、回答を追加して参ります。
海外へのリターンの配送費だけは別途となります。ご容赦下さい。
本プロジェクトはAll-in方式で実施します。目標金額に満たない場合も、計画を実行し、リターンをお届けします。
上記各イラストは、フリー素材、齋藤が描いた物、齋藤創造研究所依頼のプロモーションビデオの中から採用した物が記載されています。
ママルコンピュータの為に、SFイラストレータ加藤直之さんにお願いしたイラストには、私たちによる商用利用の許可を頂いています。
本文中に記載されている会社名、製品名等は、各社の登録商標または商標です。




コメント
もっと見る