
スキッジャーならザクッと楽しく、
手早く完了します。
庭の除草は大変で面倒な雑用であり、できれば誰もやりたくはありませんよね。しかし、SKIDGERはそれを変えます!あえて言うと「楽しくて簡単」になりました。お庭、菜園などの除草作業を、短時間で完了するようユーザーを強く後押しするアメリカ生まれのガーデニングツールです。


効率化を追求した独自の設計
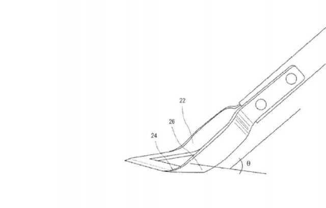
スキッジャーの特徴は鋭利にデザインされた独自のV字ブレードと後方にも研がれた刃を備えた両刃仕様です。鋭利にデザインされたブレードで前方を除草し、後方の刃はブレードを引き戻す際、内側でも除草できるよう効率化を追求しています。前後の動きで無駄なく除草しユーザーの労力を余すことなく活用します。


前方へ鋭く突き出た、角度のあるV字ブレードがキレを生み推進力を高めます。

正面から押すだけでは切りにくいですが角度をつけると動きが出てキレを生みます。

雑草にあたる刃の部分は前後ともに鋭く研がれています。


これら2つの要素がこれまでにはなかったパワフルな除草を実現しました。

地面を這うようにスライドさせやすい設計で、雑草の根元へアプローチしやすくなっています。軟かい土壌であれば表面の土を軽く削るように使うことで、雑草の根元より下の成長点から駆除することも可能です。スキッジャーで手軽にこまめな除草を行えば少しずつ根を弱らせていくことが可能です。

大きく成長してしまった雑草など、根から取り除きたい場合は足を添え、力を加えて除草する使い方もできます。

削った土は中央の空間から抜けていくので、草と土を一緒に運んでしまい少しずつ体力を消耗するといったことも軽減。

立ったまま、らくらく。
しゃがんだ固定姿勢で長時間作業すると全身の凝り、膝や腰への負担も大きいですが、立ったまま作業を行うことで負担が軽減され楽しくラクに除草できます。

触れたくない草などは直接つかむことなく、距離をとって除草できるので虫に刺れたり、かぶれたりする心配もなくなります。


レンガ、タイルやコンクリートの目地など、隙間から生えた雑草にも効果的です。

ウッドチップや砂利の上

キワに生えた雑草

はみ出してきた芝生

道路周辺
道端など

柄の部分は過酷な環境でも耐えうるようグラスファイバーを含んでおり強度もしっかり、中心は空洞となっています。

ユーザーの力をしっかり伝えられるようシリコンラバー採用で滑ることなくしっかりグリップ。

ボルト2本使用でガッチリ固定、全体的にタフなつくりで強度がありますので、末長くご使用いただけると思います。

使用後はそのまま水洗い出来ます。水分を拭き取り保管してください。

薬剤等を使用せずに除草することで環境にも優しく、またエンジン音もないので近隣への騒音の心配もありません、早朝の涼しい時間から気がねなく作業することができます。

幼い頃、グロリアは家の庭で数え切れないほどの時間をかけて草取りを手伝っていました。彼女は、メイソンジャーのリングや指を使って雑草を掘っていたやり方ではなく、もっと良い方法があるはずだと考えていました。ある日彼女は、メイソンジャーリングの先を曲げて使うことを発見します。

彼女の考えを義父に説明したところ、義父がこの道具の第1号をデザインしてくれたのです。この子供の想像力から、Skidger Weederが生まれました。


試行錯誤を繰り返し、洗練され、今日のような草刈りに発展しました。

スキッジャー独自のオリジナルデザインは特許取得済。

海外では米国のホームセンターのツールコンテストで賞を取るなど、高評価の実績もあり、既に活躍しています。

・振り回して使用しないでください。
・先端が鋭利な仕様となっています、小さなお子様等には使用させないでください。
・保管時は倒れたりすると、とても危険です。刃の部分を上には向けて保管しないでください。
・寝かせるか、下に向け必ず何かで保護してから保管してください。(刃の部分を新聞紙で巻く等)
・小さなお子様が触れないように保管してください。
・使用後はヨゴレを水洗いをして水分を拭き取り、乾かして保管してください。

■商品名:SKIDGER スキッジャー
■ 本体寸法: 全長約149cm
(柄: 134cm ブレード幅:15.5cm)
■ 本体重量:約930g
■ 材質:強化鋼、グラスファイバー、シリコンラバー
■ 設計:アメリカ
■ 原産国:中国

Q. 保障について
A.初期不良品につきましては代理店にて新品のものと交換させていただきます。ご使用後に生じた損傷につきましては保証対象外となります。輸送時にブレード等に多少の傷、シミやヨゴレがつくことが予想されますがこちらも補償の対象外となります。
Q. 水洗いできますか?
A. はい、可能です。水洗い後は水分を拭き取り乾かしてください。
Q. 研げますか?
A. 部分によって研ぐことは可能です。

プロジェクト開始:2021年9月
プロジェクト終了:2021年11月
リターン発送:2022年1月スタート
メーカー紹介
Skidgerは設立5年目のアメリカのメーカーです。
子供の頃、開発者は家族の庭の草取りに数え切れないほど多くの時間を費やしていました。 小さなフレームはいつも意志とは反対方向に切り刻まれ、扱いにくいことに気づき、ポイントに曲げられたメイソンジャーリングを使い始めましたが、作業時間が掛かりすぎたので自分のアイデアを加え、改良し続け、父親にそれを作るよう依頼をしました。 今やこのハート型の道具は庭師の作業時に最大限の効率を出すのに役立っています。
実行者紹介
Japanavi Tradingの池田です。
私自身、普段は家、会社周辺や町内の公園などで草刈りを行っています。
いつも「早く終わらせよう!」と意気込んで作業をはじめるのですが、なかなか思うようにはいきません、思いのほか手間取り日差しが強くなってくるともう大変です。なのでもっといい道具はないの?と、近所のホームセンターをはしごして物色してみたり、某ネット量販店でいろいろなものを購入し試してきました。ですが良いところもあれば、悪いところもあったりと道具によって様々でした。
ある時、スキッジャーに出会います。この独特な形状を初めて見たときには「これだ!」と思いました。はじめてSKIDGERが到着した時はワクワクして、そのまま雑草探しに出かけ除草して回りました。そして現在、SKIDGERは私にとって手放せないお気に入り道具の1つです。草刈り好きの方にはもちろん、いろいろな道具を使ってみて満足できるものに出会っていない方、新たな除草体験をしてもらえるのではないかと思っています。
SKIDGERで皆様のガーデニングライフが充実することを願っています。最後までご覧いただきありがとうございました。
リスク&チャレンジ
※使用感などに関しては、感じ方に個人差が予想される製品でございます。そのため、使用感等に関する返品・返金はお受けいたしかねます。
※初期不良以外に関する返品・返金はお受けいたしかねます。
※開発中の製品のため、デザイン・カラー・素材などの仕様が一部変更になる可能性がございます。
※モニター環境によって、画像の色が実物と異なって見える場合がございます。
※ご支援の数が想定を上回った場合、製造工程上の都合等により出荷時期が遅れる場合がございます。
※一般発売は2022年春頃を予定しております。皆様のご支援により量産効率が向上した場合、一般販売価格がmachi-yaキャンペーン価格より下がる可能性もございます。また、天災や経済情勢などの予期せぬ事情により中止される可能性があります。
※並行輸入品が発生する可能性があります。正規以外での個人輸入等は、完全に防ぐことができない場合がございます旨、予めご了承のほどお願いいたします。
※一部国内に類似商品が出回っている場合がございます。弊社では他社の類似品に関してのお問い合わせには対応出来ませんのでご了承ください。
※配送出発地は兵庫県より行い、配送業者はクロネコヤマト、所要時間は2-5日予定です。
クラウドファンディングの性質上、以上の注意点につきましてあらかじめご理解とご了承いただいた上でご支援くださいますよう、よろしくお願い申し上げます。 最後に、本製品を手に取った皆様に喜んでもうえるよう、 チームメンバー一同心を込めて対応していきますので、 応援よろしくお願い致します。
■特定商取引法に関する記載
◯ 販売事業者名: Japanavi Trading /池田泰之
◯ 事業者の所在地:〒671-2242 兵庫県姫路市六角544-1
◯ 事業者の連絡先:メール:/ TEL:090-8297-3293 mail: info@skidger.jp
※こちらでは当該製品に対するお申し込み、質問等は受け付けておりません。
◯ リターン価格:各リターン記載の通り
※ 商品内容に関してはリターン欄記載の通り
※ リターン価格とは別にcampfire(machi-ya)のシステム利用料として1支援毎に200円(税別)が支援者様の負担となります。尚、このシステム利用料はcampfireが受け取るもので、当社が受領するものではございません。
◯ 申込期限:当ページ記載のプロジェクト終了期限通り
◯ 支払い方法:campfireの決済手段に準じる (詳細はこちら)
◯ 支払い時期 :当プロジェクトは「All-in型」の為、目標達成の如何に問わず、ご契約が成立しリターンをお届けします。その為、お申込みと同時にご利用の決済方法に準じてご請求となります。
◯ 引渡し時期: 各リターン詳細に記載の発送予定月を引き渡し時期とします。但し、開発・生産状況によって遅れが生じる場合がありますのでその際は当プロジェクトページ内の「活動報告」または購入者へのメール等で連絡します。
◯ キャンセル・返品: 当プロジェクトは「All-in型」の為、お申込み完了をもって契約が成立いたします。その為、お客様都合による返品・キャンセルはできませんのでご注意ください。尚、製品到着後に破損や初期不良がある場合には交換させていただきますので「メッセージで意見や問い合わせを送る」から、または納品書記載の連絡先までお問い合わせください。
○ソフトウェアに係る取引である場合のソフトウェアの動作環境:該当なし。
※上記以外の事項に関しては、お取引の際に請求があれば遅延なく提示いたします。
最新の活動報告
もっと見る
【動画投稿】色々なところでの草刈り動画公開中!
2022/09/13 11:29皆様お世話になっております。現在いろいろなところの草をスキッジャーで刈ってみた動画をYoutubeにアップロードしております。本日、砂利混じりの場所の背の高い草を刈る動画を投稿いたしました。https://youtu.be/Dm6xv4xmA70砂利混じりの場所はスキッジャーが滑りやすく、中々うまく草を刈ることができません。草の上を滑ってしまうときなどのコツも動画内では紹介させていただいております。まだまだ暑い日が続くので、こまめに休憩を挟みながらスキッジャーをお使いいただければと思います。また使い方などのご質問、こんな場所で、こんな草を刈るにはどうしたらいいかというリクエストがございましたらご遠慮なくお知らせください。この他にも土手や畑での草刈り動画や、スキッジャーの使い方講座の動画も投稿しております。ぜひYouTubeで「スキッジャーチャンネル」と検索いただくか、以下のURLからチャンネルをご覧ください。https://www.youtube.com/channel/UCrHKQC1keVkc4jfhh3ax8bQなお現在スキッジャーを小型化した「スキッジャーリトル」をCAMPFIREにてクラウドファンディング実施中です。ぜひこの機会にページをご確認いただけますと幸いです。https://camp-fire.jp/projects/view/469789それでは今後ともどうぞよろしくお願いいたします。 もっと見る
【スキッジャー第2弾】 スキッジャーリトル開始致しました!
2022/09/09 10:02皆様、お世話になっております。新プロジェクト、「スキッジャーリトル」のプロジェクトを開始いたしました。切れ味そのままに片手で扱え、小回りの効く使いやすさが特徴です。ちょっとしたところの除草などには抜群の使いやすさを実感していただけると思います。https://camp-fire.jp/projects/view/469789最後の先行割引となっています。皆さまからのあたたかいご支援、心よりお待ちしております。 もっと見る
スキッジャーリトル、明日10:00からプロジェクト開始のお知らせ
2022/09/08 15:37皆様お世話になっております。この度、新しいプロジェクトといたしまして、スキッジャーの弟分になる「スキッジャーリトル」のプロジェクトを実施させていただきます。座って作業するタイプの除草ツールです。小型軽量化し、極限まで操作性にもこだわり開発。来年の一般販売を前に最後の先行割引となっています。お手すきの際に、ご一読いただけると幸いです。https://camp-fire.jp/projects/view/469789このリンクは9/9(金)10:00に公開されます ※状況により若干遅れる可能性もございます皆さまからのあたたかいご支援、心よりお待ちしております。 もっと見る




コメント
もっと見る