自己紹介
京都で大工として働いています、Wataru です。

開発チームを作って活動しています、 チーム名Photon hand plane since 2023 (今はまだ1人です。笑)
プライベートの時間で新しい製品の開発をしています。

鉋削りの様子 ▶️


このプロジェクトで実現したいこと
実現したい事は、2つあります。
①革新的な新しい鉋の開発、
(いつまでも切れる刃先、光り輝く木肌、
メンテナンスのコストは10分の1. 気軽に使える相棒となる道具)
② 日本建築を作る技術や文化の伝承へ
良い仕事、良い物作り、文化を繋げる為に、新しい付加価値のある良い製品とサービスの提供にチャレンジすることを実現したいです。
その製品とは、鉋(かんな)です。

良い日本建築を作るには、鉋が必要不可欠です。建築に使用される木材の多くは、かんなによって表面を仕上げられています。
今後も日本建築を生きた文化として残すには多く取り組みが必要ですが、私ができることからスタートしたいです。
失われつつある技術の1つである鉋を使うこと。それを新しい製品開発と私の知識提供によって課題解決へチャレンジしたいです。結果は分かりませんが、チャレンジしなければ、何も見えて来ません。

プロジェクト立ち上げの背景
新しい鉋を開発する上で、資金が足りず、試行錯誤が出来ない状況になりました。
皆さまと一緒に新しい鉋の開発へチャレンジしたく、このプロジェクトを立ち上げました。

今から約10年前
私 が建築の学校を卒業後、京都の和風建築を手がける工務店に入社しました。

和風建築には、さまざまな材種の木材を用います。
その多くの木材は、長年、倉庫に眠っている銘木でした。 毎日の様に銘木を鉋で削る仕事をする中で、多くの疑問や問題意識がありました。

・上手く削れない
・なぜ、こんなに、キレイに鉋で削るのが難しいのか、
・なぜ、何年も大工している人でも、鉋に苦手意識があるのか、、

そんな問題を考えながら、色んな書籍や論文を読みました。
【課題を解決する鉋作りにチャレンジ】
色んなアイデアが、生まれてきました。
仮説を立てて、スケッチや図面を描き、一つずつ試作を作り試行錯誤の日々が始まりました。


現在の準備状況
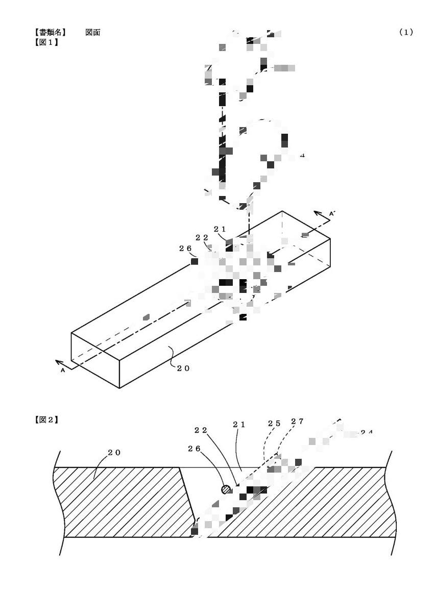
【どんな鉋なの??】
革新された鉋
設計7つの特徴とは?
【開発済み🙆】①もう、裏押し裏出しは、不要
(裏面は、全て研磨済み、従来の様な面倒な裏出しや裏押しは、不要)

【開発中】②鉋刃は、もう緩まない!
(従来の様に、背中馴染みに、紙を貼る事やパテを塗る事は不要)
【開発済み🙆】③簡単な押金のキツさ調整
(従来の様に、ねじれやキツさを調整する為に、角を叩く事は不要、3秒で出来るネジの調整のみ!)
【開発済み🙆】④狂わない鉋台
(鉋台に特殊な処理をした材料を使用、湿度や天気の変化に左右されない、いつもそのまま!)
【開発済み🙆】⑤減りにくい鉋台
(鉋台に特殊な部材を装着、擦り減りに対して従来の10倍以上の耐摩耗性を実現)
【開発中】⑥簡単な台直し ??
(従来は、刃と押金の仕込みキツさに応じて、膨らんだ台を直す必要があった。もう細かな台直しを不要、サッと砥石で平面に研ぐだけ)
【開発中】⑦優れた長寿命化 刃先の鋭利化
7つの要素に対して、アイデアを考えて、いくつも簡易的な試作作りが成功しました。
実用的な試験を行うため、新たな試作品作り、に向けて、設計の見直しをしています。
鉋台の材料は、無垢の木材、セラミックス、樹脂材など試験しています。
また、きたる試作品の試し販売に向けて、実用新案の出願準備をしています。

リターンについて
木工品については、1つ1つ手作りの物をお届けします😊

スケジュール
クラファン達成後
①実用新案出願 2024年3月頃目標
↓
リターン品の発送
その後のクラファンは、新しい鉋台と新しい鉋機構の公表後、
↓
②新しい鉋刃の開発応援クラファン
を実施する予定 2024年

資金の使い道
集めた支援金は、実用新案の出願の費用と試作品の材料費に活用させて頂きます。
実用新案出願費:3.5万円
試作品材料費:13万円
不足分は実費で負担するつもりです。
最後に
このページ見てくれた皆様と
新しい鉋の開発、日本のもの作りの文化、日本建築の文化の伝承へ目指して、一緒に開拓者になりたいです。

参考資料
鉋とASMR▶️
<募集方式について>
※本プロジェクトはAll-in方式で実施します。目標金額に満たない場合も、計画は、時期が遅れる可能性もありますが、実行します。
リターンは、予定通りお届けします。
【SNS】
https://youtube.com/@Photon.hand.plane.since2023?si=UCVyczfumQX9MHp8
https://instagram.com/photon.since_2023?igshid=MmVlMjlkMTBhMg%3D%3D&utm_source=qr










コメント
もっと見る